〔複線図用マニュアル〕
①電源、負荷、ジョイント(アウトレット)ボックス、点滅器等を単線図と同じように配置する。
②電源のN(接地側電線)と負荷を接続する。
③電源のL(非接地側電線)と負荷を接続する(点滅器と接続しないもの)。
④電源のL(非接地側電線)と点滅器(タンブラスイッチの固定極または電源側三路スイッチの共通端子「0」)を接続する。
⑤三路スイッチの切替え端子「1」、「3」を同じ番号同士で接続する(四路スイッチがある場合は、四路スイッチを三路スイッチの切替え端子「1」、「3」間に接続する)。
⑥点滅器(タンブラスイッチの可動極または負荷側三路スイッチの共通端子「0」)と負荷を接続する。
⑦パイロットランプを接続する(常時点灯:電源に並列、同時点滅;負荷に並列、異時点滅;点滅器に並列)。
⑧200V用負荷を1Φ3Wの両外側線に接続する。
⑨第1章の特殊な回路を参考にして、特殊な回路部分を接続する。

〔電線の色分け用マニュアル〕
(1)確定している色を決める。 ①電源のN(接地側電線)?負荷(接地側電線)間は白線(W)。
②負荷(非接地側電線)?接続点間は黒線(B)。
③電源のL(非接地側電線)?接続点間は黒線(B)。
④接続点?点滅器(タンブラスイッチ固定極)間は黒線(B)。
⑤接続点?電源側三路スイッチの「0」(共通端子)間は黒線(B)。
⑥負荷側三路スイッチの「0」(共通端子)?接続点間は黒線(B)。
⑦接地線は緑色(G)。
(2)不確定な色を決める。
⑧2心や3心のケーブルで残っている色を使う(例:2心のケーブルで、白線(W)がすでに使われている場合、残っている色は黒線(B)となる)。
⑨基本的には電源側から色を決めていき、極力電源側に色を合わせるようにする。
(3)特殊な回路部分の色を決める。
⑩第1章の特殊な回路を参考にして、特殊な回路部分の色を決める。

〔注意事項〕
・問題を熟読する(配線図、施工条件等)。
・接地側電線:変圧器側で接地されている方の電線。
・非接地側電線:変圧器側で接地されていない方の電線。
・非接地側点滅:原則として点滅器は必ず非接地側電線に入れる。
・最小の電線条数になるようにする。
・スイッチボックス等で、配線器具が複数あるときは渡り線を使う。
・ケーブル工事で電線条数が4本以上になったら、VVケーブルを組み合わせる(例:VVFの2心X2本=4本、VVFの2心+VVFの3心=5本)。
・接続点は黒く塗りつぶす。
・負荷には極性があるものがある(レセプタクル、コンセント、引掛けローゼット等)。→極性表示(N、W、接地側)に注意する。
・タンブラスイッチ固定極:タンブラスイッチは黒いボッチ(黒点)がある方が固定極。
・正しい複線図の電流は必ず電源から出て電源に戻ってくる。
例:①電源→負荷(点滅器と接続しないもの)→電源
  ②電源→点滅器(100V)→負荷(100V)→電源
  ③電源→点滅器(200V)→負荷(200V)→点滅器(200V)→電源
・Rは、ランプレセプタクルを示す。
・金属管とボックスは電気的に接続すること。→金属管とボックスをボンド線で接続すること。

【基本問題】
問1 コンセント1個のみの回路
  

問2 コンセント2個のみの回路
  

問3 点滅器+灯の回路
  

問4 点滅器+灯X2の回路
  

問5 点滅器X2+灯X2の回路
  

問6 点滅器+コンセント+灯+その他負荷への回路
  

問7 パイロットランプ(異時点滅)の回路
  

問8 パイロットランプ(同時点滅)の回路
  

問9 パイロットランプ(常時点灯)の回路
  

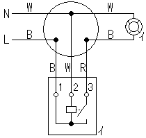
問10 三路点滅器の回路
  

問11 四路点滅器の回路
  

問12 1Φ3Wの回路
  

問13 接地極付コンセント+接地端子付コンセントの回路
  

問14 ダウンライトの回路
  

【特殊な回路】
これらの回路は特殊な結線をするため、これらの複線図をしっかりと覚えておいてください。
1 点滅器(2極用)+100V用負荷へ+200V用コンセントの回路
  

2 位置表示灯内蔵形点滅器(異時点滅)の回路
  
※結線時は、異時点滅回路で、パイロットランプの渡り線が結線済みだと考えるとわかりやすい。
※点滅器内部結線図は各メーカごとに異なっているので、必ず内部結線図を確認して配線すること。

3 確認表示灯内蔵形点滅器(同時点滅)3線式の回路
  
※結線時は、同時点滅回路で、パイロットランプの渡り線が結線済みだと考えるとわかりやすい。
※点滅器内部結線図は各メーカごとに異なっているので、必ず内部結線図を確認して配線すること。

4 確認表示灯内蔵形点滅器(同時点滅)2線式の回路
  
※点滅器内部結線図は各メーカごとに異なっているので、必ず内部結線図を確認して配線すること。

5 自動点滅器の回路(3極の場合)
  
※結線時は、CdS回路と点滅器に分けて考えるとわかりやすい。
※点滅器内部結線図は各メーカごとに異なっているので、必ず内部結線図を確認して配線すること。

6 自動点滅器の回路(4極の場合)
  
※結線時は、CdS回路と点滅器に分けて考えるとわかりやすい。
※点滅器内部結線図は各メーカごとに異なっているので、必ず内部結線図を確認して配線すること。

7 タイムスイッチの回路(3極の場合)
  
※結線時は、モータと点滅器に分けて考えるとわかりやすい。
※TS内部結線図は各メーカごとに異なっているので、必ず内部結線図を確認して配線すること。

8 タイムスイッチの回路(4極の場合)
  
※結線時は、モータと点滅器に分けて考えるとわかりやすい。
※TS内部結線図は各メーカごとに異なっているので、必ず内部結線図を確認して配線すること。

9 プルスイッチの回路
  
※結線時は、プルスイッチをタンブラスイッチに置き換えて考えるとわかりやすい。

10 調光器の回路
  

11 接地極付20A250Vコンセント+接地端子の回路
  

12 リモコンリレーの回路
  

13 3Φ3W200Vの回路
  
※電源表示灯は、V相ーW相間に接続すること。
※電源表示灯は、電源が供給されている時、点灯すること。
※V相に接続する電線は、全て白色とすること。

メニューに戻る